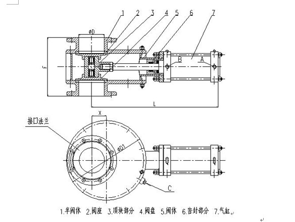
双道滑阀


SHF系列双道滑阀是气动直动式阀门,在干燥粉粒状物料气力输送管道中作开关阀,一般可双向使用。
SHF系列双道滑阀可用于火力发电厂、建材(水泥)等行业的干燥粉粒状物的管道气力输送系统中,具有耐高温、耐磨、工作可靠、寿命长等优点。
结构


站内搜索
|
SHF-125双道滑阀SHF-200双道滑阀SHF-150
详细信息 SHF-65双道滑阀 SHF-80双道滑阀 SHF-100双道滑阀 SHF-125双道滑阀 SHF-200双道滑阀 SHF-150双道滑阀
|